Slot-spiss for lodding og utlodding av 0402, 0603 og 0805-komponenter.
Metcal SMTC-X88 loddespiss, (X) = ønsket temperaturserie.
Passer til Metcal MX-RM3E og MX-H1-AV loddehåndtak.
Metcal SMTC-X88 loddespiss, (X) = ønsket temperaturserie.
Passer til Metcal MX-RM3E og MX-H1-AV loddehåndtak.
| Varenummer: | Applikasjon: | Temperatur serie: |
| SMTC-588 | Temperatur sensitiv | 500 |
| SMTC-088 | Temperatur sensitiv Sn/Pb | 600 |
| SMTC-188 | Blyfri eller standard applikasjon | 700 |
Loddespiss
Bøyd:
High mass:
Lang:
Long Life:
Power:
Spisstype:
Slot
V-spor:
Rework loddespiss
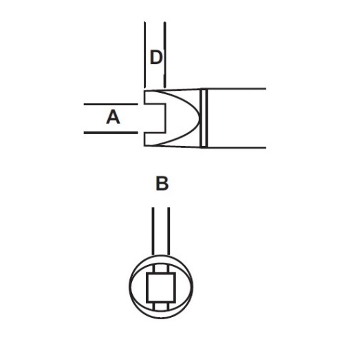
A:
A: 2.03 mm (0.080")
B:
B: 1.27 mm (0.050")
D:
D: 1.52 mm (0.60")
